 
         
        Sistemas listos para instalar, con salida externa de datos
Trabajando con 4 pulsos (p.ej. una configuración IW4 del display o del sistema control) y una temperatura ambiente de +20 °C, la precisión aportada es igual a: ±(0,025 + 0,02 · L), donde L es la longitud en metros de la carrera y repetibilidad ±0,025
Trabajando con 1 pulsos (p.ej. una configuración IW1 del display o del sistema control) y una temperatura ambiente de +20 °C, la precisión aportada es igual a: ±(0,1 + 0,02 · L), donde L es la longitud en metros de la carrera y repetibilidad ±0,025
Sensor de tamaño reducido con electrónica de evaluación integrada
Señales de salida: modo diferencial resistente al cortocircuito con señales invertidas (A A/, B, B/, Z, Z/)
 
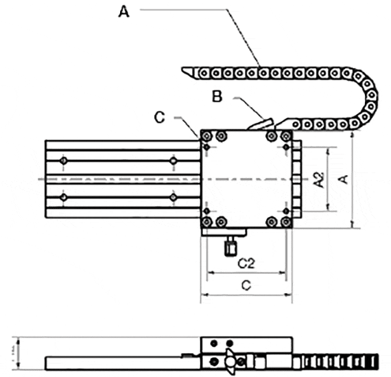
                | Todos los tipos | A | A2 | C | C2 | H2 | K2 | Precisión | ||
|---|---|---|---|---|---|---|---|---|---|
| [mm] | [mm] | [mm] | [mm] | [mm] | [mm] | [mm] | |||
| WKMEX-10-80-2.5-00-01 | 107 | 70 | 100 | 87 | 36 | M6 | 0,1 | a petición | |
| WKMEX-10-80-2.5-01-01 | 107 | 70 | 100 | 87 | 36 | M6 | 0,1 | a petición | |
| WKMEX-10-80-2.5-11-01 | 107 | 70 | 100 | 87 | 36 | M6 | 0,1 | a petición | 
| Tipo de sensor | Tensión nominal | Señal de salida | Longitud máx. del cable de señal | |
|---|---|---|---|---|
| 00 | 10 - 30 V | 10 - 30 V | 30 m | |
| 01 | 10 - 30 V | 5 V (Driver lineal TTL) | 50 m | |
| 11 | 5 V | 5 V (Driver lineal TTL) | 10 m | 
| especificaciones | ||
|---|---|---|
| Método de medición | Incremental | |
| Precisión repetidora | ± 1 décima. | |
| División de polos | 5 mm | |
| Carcasa del sensor | Zinc colado a presión | |
| Clase de protección | IP67 | |
| Temperatura de funcionamiento | -10 … +70° C | |
| Humedad máxima | 95 %, sin condensación. | |
| Velocidad máx. | 4,0 m/s | |
| Fuente de alimentación VDC | 5 VDC o 10 hasta 30 VDC | |
| Consumo de corriente | 5 VDC: máx. 200 mA 10 hasta 30 VDC: máx. 150 mA | |
| Cuenta con electrónica interna para evaluación | Cuenta con electrónica interna para evaluación | |
| Señal de salida | Driver lineal 5 V-TTL o 10 a 30 V_HTL | |
| Pulsos de entrada | A, A‘,B, B‘, Z, Z‘. | |
| Longitud máx. del cable | Longitud de cable máx. 5V/5V-TTL = 10 m 10-30V/10-30V = 30 m 10-30V/5V-TTL = 50 m | |
| Máx. separación permitida del sistema con respecto a la cinta magnética | 2,0 mm | |
| Conexión | Extremos abiertos de los cables. | |