Por favor seleccione el país de entrega adecuado

Algunos factores como el precio de los productos, su disponibilidad u otros servicios pueden verse afectados por la selección del país de entrega.
My contact person
e-chains®, chainflex®, cables, harnessed systems readychain®

+54 11 45561000
dry-tech® bearing technology

+54 11 45561000
AR(ES)

Montaje vertical, colgante

Gracias al principio de instalación suspendida, nuestras cadenas portacables permiten recorridos (alturas) de más de 100 m. En el ámbito de la tecnología de flujo de materiales, las cadenas portacables posibilitan el suministro de una amplia variedad de tipos de cables. Además, una cadena portacables asegura que los cables individuales no se enreden en partes sobresalientes de estanterías o palés.

Datos técnicos

Altura máxima de recorrido100 m 
V máx.20 m/sEn función de la altura del recorrido y de la resistencia de la cadena portacables
A. máx.50 m/s2En función de la altura del recorrido y de la resistencia de la cadena portacables

Tres tipos de instalación para aplicaciones colgantes verticales


Movimiento sin aceleración lateral

Sin aceleración lateral

Diagrama A: El movimiento vertical sin aceleración lateral generalmente no requiere guiado.
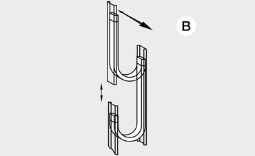
Movimiento con aceleración lateral

Con aceleración lateral

Diagrama B: La aceleración lateral puede producirse en dos direcciones. Se requiere un sistema de guiado.
Movimiento con aceleración lateral

Con aceleración lateral

Diagrama C: La aceleración lateral puede producirse en dos direcciones. Se requiere un sistema de guiado.
Movimiento sin aceleración lateral
Si la aplicación tiene un movimiento puramente vertical sin aceleración lateral, la cadena portacables no necesita soporte lateral. 

Movimiento con aceleración lateral
If there is lateral acceleration, the energy chain requires lateral guidance in most cases. El guiado parcial también es una opción. No obstante, el guiado debe cubrir al menos el rango en el que la cadena portacables puede oscilar. 
La aceleración lateral actúa perpendicularmente a la cadena, donde es más estable. Si se utiliza el sistema de guiado, debe seleccionarse una cadena portacables con pretensado. De este modo, la cadena portacables se presiona contra el carril de guiado.

La instalación de la cadena portacables del diagrama B es preferible cuando sea posible.

Cadenas portacables sin pandeo

Uso sin pandeo para aplicaciones suspendidas con poco espacio

Si se cuenta con suficiente espacio, una cadena portacables estándar con pandeo resulta apropiada para llevar a cabo aplicaciones suspendidas. El uso del pandeo contribuye al funcionamiento silencioso de la cadena portacables, pero implica un poco más de espacio necesario. En situaciones donde no hay suficiente espacio, como es común en transelevadores en pasillos estrechos, es necesario utilizar una cadena portacables sin pandeo. Ofrecemos numerosas versiones NC (sin pandeo).

Ejemplo de pedido: E4.32.10.175.0.NC

Probado 100.000 veces en la práctica

Nuestros productos más vendidos para aplicaciones colgantes

guidelok vertical

guidelok vertical

Cadena portacables para aplicaciones verticales y transelevadores.
Sistema E4.1

Sistema E4.1

Sistema modular de alta resistencia para casi todas las aplicaciones.
Sistema E2/000

Sistema E2/000

Montaje rápido y económico.

Tienda online de cadenas portacables Seleccione la cadena portacables adecuada para su aplicación en la tienda online.
Cadenas portacables Configure el sistema de suministro de energía de forma rápida y sencilla con el configurador de cadenas portacables.
Información sobre la cadena portacables Más información sobre los parámetros básicos y el cálculo, las normas de llenado y mucho más.

Consultas

I would be happy to answer your questions personally

Consulta y envíos

En persona:

De lunes a viernes de 7:00 a 20:00
Sábados de 8:00 a 12:00

Online:

24h


Los términos "Apiro", "AutoChain", "CFRIP", "chainflex", "chainge", "chains for cranes", "ConProtect", "cradle-chain", "CTD", "drygear", "drylin", "dryspin", "dry-tech", "dryway", "easy chain", "e-chain", "e-chain systems", "e-ketten", "e-kettensysteme", "e-loop", "energy chain", "energy chain systems", "enjoyneering", "e-skin", "e-spool", "fixflex", "flizz", "i.Cee", "ibow", "igear", "iglidur", "igubal", "igumid", "igus", "igus improves what moves", "igus:bike", "igusGO", "igutex", "iguverse", "iguversum", "kineKIT", "kopla", "manus", "motion plastics", "motion polymers", "motionary", "plastics for longer life", "print2mold", "Rawbot", "RBTX", "readycable", "readychain", "ReBeL", "ReCyycle", "reguse", "robolink", "Rohbot", "savfe", "speedigus", "superwise", "take the dryway", "tribofilament", "tribotape", "triflex", "twisterchain", "when it moves, igus improves", "xirodur", "xiros" y "yes" son marcas comerciales legalmente protegidas de igus® SE & Co. KG en la República Federal de Alemania y otros países. Esta es una lista no exhaustiva de las marcas comerciales de igus SE & Co. KG o de empresas afiliadas de igus en Alemania, la Unión Europea, EE.UU. y/u otros países o jurisdicciones.

igus® SE & Co. KG puntualiza que no vende ningún producto de las empresas Allen Bradley, B&R, Baumüller, Beckhoff, Lahr, Control Techniques, Danaher Motion, ELAU, FAGOR, FANUC, Festo, Heidenhain, Jetter, Lenze, LinMot, LTi DRiVES, Mitsubishi, NUM, Parker, Bosch Rexroth, SEW, Siemens, Stöber y cualquier otro fabricante mencionado en esta página web. Los productos que ofrece igus® S.L.U. son los de igus® SE & Co. KG.